| 2007東京発明展 バーチャル展示会 |
| 1.出品者 | 佐藤 健吉 |
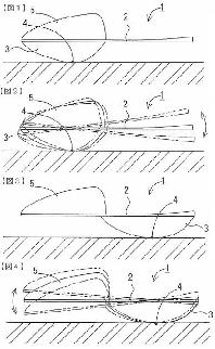
足の前後方向のバランス感覚の向上を図ることができ、足に掛かる負担を自在にコントロールすることができる。 側面投影形状において、底部に船底状の突出部を備え、この突出底部は地面に対して1点で接する接地支点をを有し、かつこの接地支点のかかと部からつま先部に向かう前後方向に荷重を移動させると、接地支点が前後に移動してシーソー状に揺動するように構成している。 |
| 2.郵便番号 | 〒355-0008 | |
| 3.住所 | 埼玉県東松山市 | |
| 4.特許等 | 特願 2005-361779 | |
| 5.出品名称 | 『健康増進用履き物』 | |
| 6.出品目的 | 権利譲渡・実施許諾・出資者募集・販売業者募集 | |
| 7.URL | ||
![]() |
![]() |
|
| ←back | next→ |